의 전단 체인 디자인 Cell type 고무 흙받이
배가 부두에 정박할 때, 대부분의 선박은 선수 또는 선미에서 1/3 및 1/4 길이에서 먼저 부두와 충돌합니다.부두의 충격 방지 장비로서 고무 방망은 부두 안벽에 수직인 수직 충격력뿐만 아니라 부두 안벽에 평행한 접선력도 견뎌야 합니다.정상적인 작동 조건에서 셀형 고무 펜더는 선박의 접선력을 견딜 수 있습니다.그러나 고무 펜더 배럴의 전단 변형이 지정된 요구 사항을 초과하면 전단 체인이 고무 펜더 배럴의 전단 변형을 방지해야합니다.따라서 전단 체인은 드럼 펜더의 정상적인 작동과 합리적인 성능을 보장하는 데 중요한 역할을 합니다.
드럼 고무 펜더 전단 체인의 설계 방법은 아래에 소개됩니다.
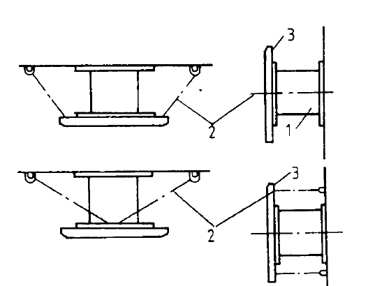
전단 체인은 일반적으로 고무 흙받이의 양쪽에 배치되며 한쪽 끝은 충격 방지 플레이트 에 고정되고 다른 쪽 끝은 안벽에 고정됩니다(그림 I).전단 사슬은 일반적으로 일반 사슬을 채택하고 그 사양과 수량은 고무 흙 받이의 사양, 고무 흙 받이의 배열 및 충격 방지 판의 크기에 따라 결정됩니다.

그림 I
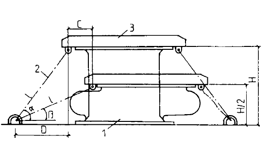
전단 체인의 설계 원리는 가장 불리한 접안 조건에서 셀 고무 펜더의 전단 변형이 지정된 요구 사항을 초과하지 않도록 하는 것입니다.Drum Rubber Fender의 설계변형률은 50%, 허용전단변형률은 C로 가정한다. Figure 2와 같이
C: 드럼형 고무 펜더의 허용 전단 변형;
D: 하역 상태에서 고무 흙받이의 안벽에 전단 체인의 수평 투영;
H: 드럼 고무 펜더 높이.
셀 형 고무 펜더의 전단 체인은 고무 펜더의 양쪽에 수평으로 배열됩니다.
길이 l은 공식에 따라 계산됩니다.한쪽 끝은 충격 방지 플레이트에 고정되고 다른 쪽 끝은 내장된 U-ring에 고정됩니다.